WinSCP: Timeout occurs in upload of files of Passive Mode.
WinSCP.log
ex) Timeout occurs 2014-05-05 10:26:31.731
When this timeout occurs, the server of the course to the rental server of the object of FTP will become status of no response about 30 minutes.
IP address of the server of the course is 154.34.240.206 and "Yahoo" which is this server's administrator is "Softbank" which is a major Japanese telecommunications service operator.
20140505_2.txt
ex) line.37 : time out of "tracert"
line.128 : time out of "ping"
Although it may be felt as a server's problem, judging from the above-mentioned contents, a problem does not occur in case of FFFTP which is a major FTP client software in Japan. (Reference: FFFTP.log)
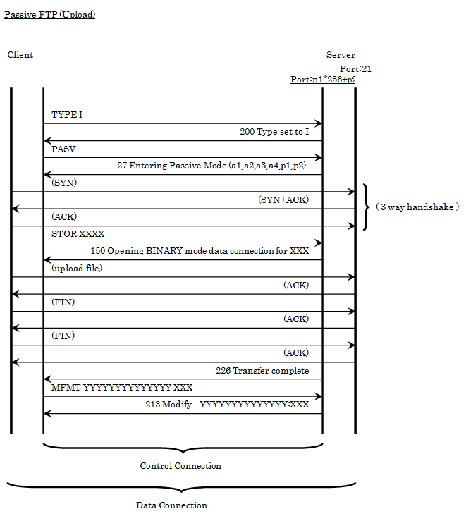
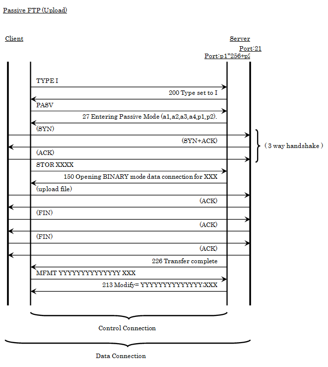
Can you check whether there is any problem in the action after WinSCP receives "227 Entering Passive Mode" just to make sure?
Thank you for your consideration.
